Udsugningsventil med et design der sikrer, at udsugningsluften på mest optimalt vis ledes i ventilen fra et bredt område i lokalet. Ventilens bajonetfatning letter installationen og efterfølgende rengøring
Ventilen er inklusive en ramme, der giver let montage i ventilationsrøret.
Luftstrømmen kan nemt indreguleres ved at åbne eller lukke ventilhovedet. Indstillingen kan gemmes ved at låse ventilhovedet på den indvendige gevindstand.
Fremstillet i stålplade, med hvid lakering.
Type | Item number | DB number |
Ø100 mm | 112249 | 5813247 |
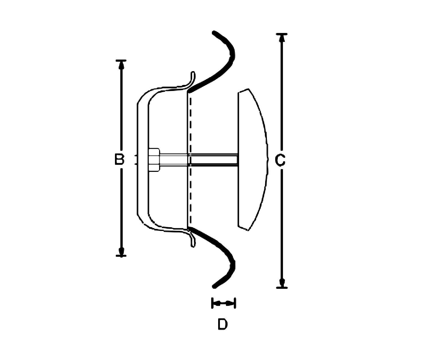
Type | B | C | D |
Ø100 mm | 100 mm | 137 mm | 12 mm
|

















































































