Type 111
Udluftning fra køkken, bad og bryggers
Klapventil
Anvendes som udluftning fra køkken, bad og bryggers. Klapventil med glat låg, uden ribber/tvangsåbning.
Passer til murgennemføring type 202 og kondensmuffe type 213.
OBS husk ved montage i loft skal den monteres direkte i en kondensmuffe.
Fremstillet i hvid plast.
| Type | Farve | Vare nr. | DB nr. | VVS nr. |
|---|---|---|---|---|
| Klapventil | Hvid | 125071 | 5155883 | 353790115 |
Varenumre tilbehør
| Type | Vare nr. |
|---|---|
| Fjeder | 111250 |
| Snor | 123644 |
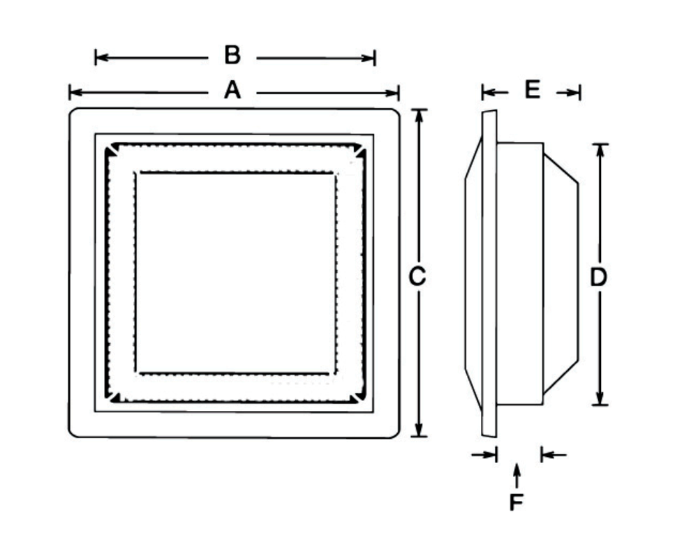
Mål - klapventil
| Type | Dimension | Luft gennemgang | A | B | C | D | E | F |
|---|---|---|---|---|---|---|---|---|
| Klapventil | 150x150 mm | 0 - 173 cm2 | 179 mm | 140 mm | 179 mm | 140 mm | 45 mm | 25 mm |
Anvendes ofte med
